Στατική V (2009-10)

Συντονιστής: University Editors

Re: Στατική V (2009-10)

Δημοσίευσηαπό Theodore » Δευτ, 27 Σεπ 2010 9:24 pm

Βιβλιο κ. Παπαδρακάκη, σελίδα 104, σειρές 13-17. :crazy2:
What you see, is not always what you get...! (NO_USER_NAME) :D
Το γεγονός ότι δεν μπορείς να δεις "κάτι", δεν συνεπάγεται ότι αυτό το "κάτι" δεν υπάρχει εκεί που κοιτάς...! :think:
Σε κάθε αξιωματικά θεμελιωμένη θεωρία υπάρχει τουλάχιστον μία αληθής πρόταση που δεν μπορεί να αποδειχθεί. (Kurt Goedel) :ugeek:
Theodore Σημαντική βοήθεια στο MQN.gr
 
Δημοσιεύσεις: 267
Εγγραφή: Παρ, 07 Νοέμ 2008 9:27 pm
Τοποθεσία: Ευρωπαϊκή Ένωση, Ελλάδα
Έτος εισαγωγής: 1999

Re: Στατική V (2009-10)

Δημοσίευσηαπό timos.21 » Δευτ, 27 Σεπ 2010 9:33 pm

αν καταλαβα καλα απο τις τρεις αυτες γραμμες το Δλ ειναι ο ελαχιστος λογος.. ;)
timos.21
 
Δημοσιεύσεις: 9
Εγγραφή: Κυρ, 06 Ιούλ 2008 12:33 am

Re: Στατική V (2009-10)

Δημοσίευσηαπό Igor Bruta » Δευτ, 27 Σεπ 2010 10:15 pm

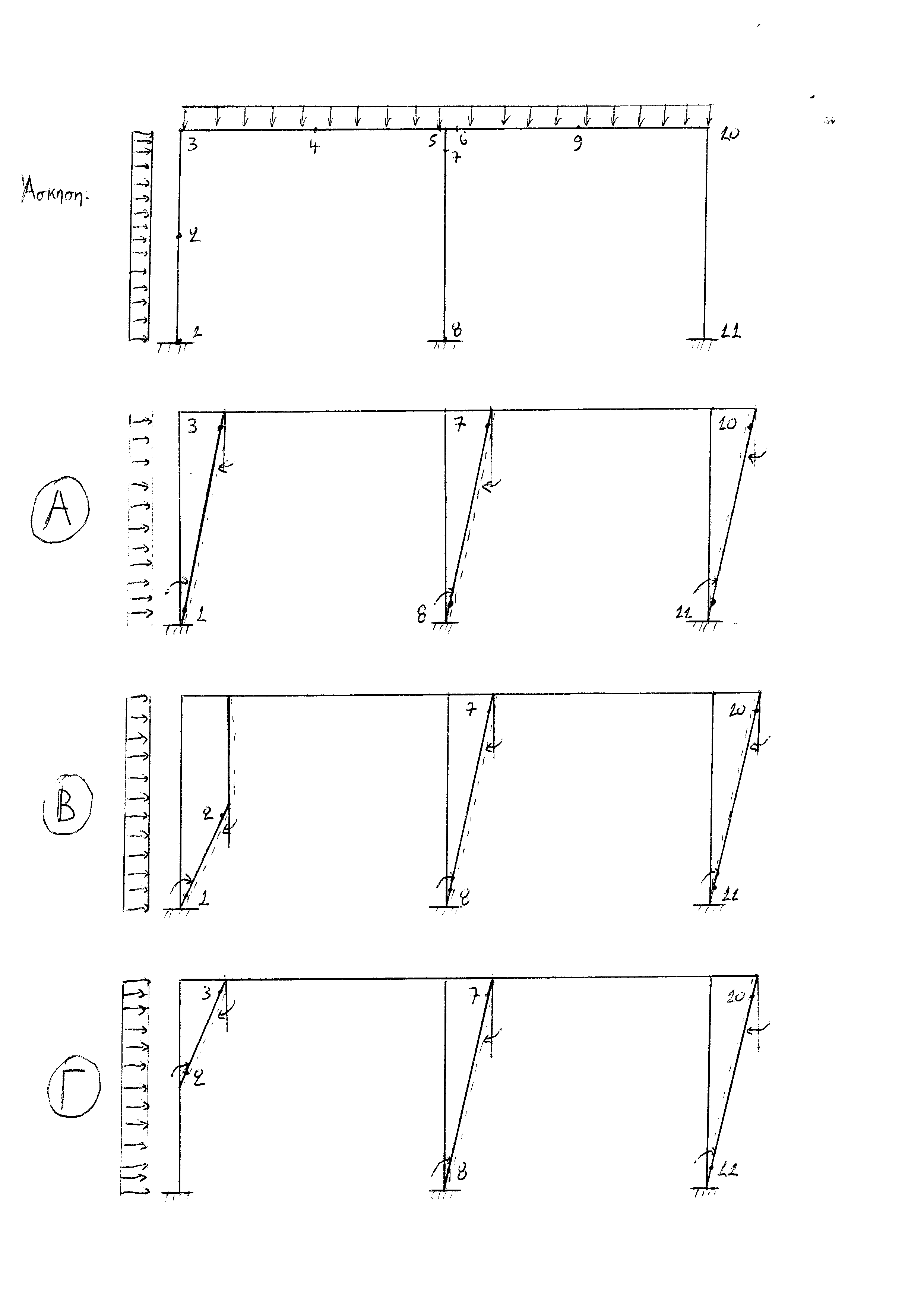
Scan10026.BMP

Στην παραπάνω άσκηση βρίσκουμε εύκολα:
11 οι κρίσιμες διατομές
6 ο βαθμός υπερστατικότητας
5 οι ανεξάρτητοι μηχανισμοί κατάρρευσης

Ένας μηχανισμός κόμβου, τρεις δοκού και τέλος ένας πλάγιος.
Ποιός από τους παραπάνω πλάγιους είναι ο σωστός? Κι αν είναι παραπάνω από ένας σωστοί τότε ποιός είναι ο δυσμενέστερος δηλαδή αυτός που θα δίνει το μικρότερο φορτίο κατάρευσης και τους περισσότερους βαθμούς στην εξέταση?
Igor Bruta
 
Δημοσιεύσεις: 18
Εγγραφή: Τρί, 20 Ιούλ 2010 6:56 pm
Έτος εισαγωγής: 2002

Re: Στατική V (2009-10)

Δημοσίευσηαπό - » Δευτ, 27 Σεπ 2010 10:32 pm

Λογικα για να βρουμε ποια διατομη θα πλαστικοποιηθει πρωτη παιρνουμε τη μικροτερη αποσταση ενω για να βρουμε το Δλ παιρνουμε το μικροτερο λογο(μαλλον ο φιλος theo θεωρει ντροπη να απαντησει απλα γιατι ειναι της σχολης οτι για να θεωρησε επιστημονας πρεπει να γραφεις συνθετα, υποθετω)
-
 
Δημοσιεύσεις: 104
Εγγραφή: Δευτ, 22 Δεκ 2008 1:15 am

Re: Στατική V (2009-10)

Δημοσίευσηαπό rini » Δευτ, 27 Σεπ 2010 10:38 pm

λογικά θα είναι ο πρωτος..λεω εγω τωρα.... :? χωρίς να είμαι βεβαία, αφού το "σπάσιμο" της 2ης κρίσιμης το έχεις πάρει στο ανεξάρτητο δοκού..οχι;; :oops: ας πει καποιος που ξερει καλυτερα και πιο σιγουρα....
το πως θα συμπεριφερθει ενα σπιτι στο σεισμο,ειναι κατι σαν τ αμοιβαια κεφαλαια..οι αποδοσεις του παρελθοντος δεν αποτελουν εγγυηση για τ μελλον!
rini
 
Δημοσιεύσεις: 14
Εγγραφή: Σάβ, 09 Μάιος 2009 1:46 pm
Έτος εισαγωγής: 2005

Re: Στατική V (2009-10)

Δημοσίευσηαπό Theodore » Δευτ, 27 Σεπ 2010 11:15 pm

@ Igor Bruta:

Και οι 3 μηχανισμοί που δείχνεις, είναι κινηματικά αποδεκτοί. Και στους 3 μηχανισμούς υπάρχουν 6 ενεργές (πλαστικοποιημένες) διατομές.

Οι πλαστικές στροφές των διατομών του άκρου αριστερού υποστυλώματος στους μηχανισμούς Β & Γ όμως, θα είναι μεγαλύτερες από αυτές του μηχανισμού Α.

Το ομοιόμορφο οριζόντιο φορτίο στο μηχανισμό Β δίνει το μεγαλύτερο εξωτερικό έργο από τους άλλους 2 μηχανισμούς. ( Γιατί...; ) :eh: :problem:

Συνεπώς, και σύμφωνα με όσα έχουν ειπωθεί, ο μηχανισμός με το ελάχιστο φορτίο αναμένεται να είναι αυτός με το μεγαλύτερο έργο εξωτερικών δυνάμεων, δηλαδή ο μηχανισμός Β.

Τέλος, σε ό,τι αφορά την βαθμολογία στην εξέταση, δεν είμαι αρμόδιος για να απαντήσω.

@ - :

Ξανασκέψου τις απαντήσεις σου...! :mrgreen:


Με εκτίμηση,
Θ._
What you see, is not always what you get...! (NO_USER_NAME) :D
Το γεγονός ότι δεν μπορείς να δεις "κάτι", δεν συνεπάγεται ότι αυτό το "κάτι" δεν υπάρχει εκεί που κοιτάς...! :think:
Σε κάθε αξιωματικά θεμελιωμένη θεωρία υπάρχει τουλάχιστον μία αληθής πρόταση που δεν μπορεί να αποδειχθεί. (Kurt Goedel) :ugeek:
Theodore Σημαντική βοήθεια στο MQN.gr
 
Δημοσιεύσεις: 267
Εγγραφή: Παρ, 07 Νοέμ 2008 9:27 pm
Τοποθεσία: Ευρωπαϊκή Ένωση, Ελλάδα
Έτος εισαγωγής: 1999

Re: Στατική V (2009-10)

Δημοσίευσηαπό Igor Bruta » Δευτ, 27 Σεπ 2010 11:46 pm

Ευχαριστώ πολύ για τη γρήγορη απάντηση. Κι εγώ αυτό υποψιαζόμουν αλλα δεν ήμουν 100% σίγουρος ;) Έχω και μία παρόμοια ερώτηση σε μηχανισμό τεθλασμένου ζυγώματος αλλά θα την postάρω αύριο καθώς τώρα είναι ήδη αργά
Igor Bruta
 
Δημοσιεύσεις: 18
Εγγραφή: Τρί, 20 Ιούλ 2010 6:56 pm
Έτος εισαγωγής: 2002

Re: Στατική V (2009-10)

Δημοσίευσηαπό Theodore » Δευτ, 27 Σεπ 2010 11:57 pm

:arrow: Να προτείνω κάτι:

:idea: Γιατί δεν δοκιμάζετε να λύνετε αναλυτικά το όποιο (ποιοτικό) πρόβλημα συναντάτε κάθε φορά; Εισάγοντας κάποια δικά σας αριθμητικά δεδομένα ή αναλογίες (L, 0.5L, 2L,κλπ - για τις γεωμετρικές διαστάσεις & Mp, 2Mp, 0.5Mp κλπ - για τις καμπτικές αντοχές των μελών), θα μπορέσετε να σχηματίστε μια ποσοτική εικόνα. Εκτιμώ ότι αυτό θα σας βοηθήσει ποικιλοτρόπως. ;)

Με εκτίμηση,
Θ._
What you see, is not always what you get...! (NO_USER_NAME) :D
Το γεγονός ότι δεν μπορείς να δεις "κάτι", δεν συνεπάγεται ότι αυτό το "κάτι" δεν υπάρχει εκεί που κοιτάς...! :think:
Σε κάθε αξιωματικά θεμελιωμένη θεωρία υπάρχει τουλάχιστον μία αληθής πρόταση που δεν μπορεί να αποδειχθεί. (Kurt Goedel) :ugeek:
Theodore Σημαντική βοήθεια στο MQN.gr
 
Δημοσιεύσεις: 267
Εγγραφή: Παρ, 07 Νοέμ 2008 9:27 pm
Τοποθεσία: Ευρωπαϊκή Ένωση, Ελλάδα
Έτος εισαγωγής: 1999

Re: Στατική V (2009-10)

Δημοσίευσηαπό pokerman » Τρί, 28 Σεπ 2010 1:47 am

Theodore μπορεις σε παρακαλω να μας γραψεις το εργο που δινει το εξωτερικο φορτιο στο μηχανισμο Β ?
pokerman
 
Δημοσιεύσεις: 216
Εγγραφή: Κυρ, 19 Οκτ 2008 5:45 pm

Re: Στατική V (2009-10)

Δημοσίευσηαπό Theodore » Τρί, 28 Σεπ 2010 2:26 am

pokerman, σταμάτα να παίζεις poker, και διάβασε την άσκηση 02 που έχω ανεβάσει στην προσωπική μου ιστοσελίδα! :ninja:
What you see, is not always what you get...! (NO_USER_NAME) :D
Το γεγονός ότι δεν μπορείς να δεις "κάτι", δεν συνεπάγεται ότι αυτό το "κάτι" δεν υπάρχει εκεί που κοιτάς...! :think:
Σε κάθε αξιωματικά θεμελιωμένη θεωρία υπάρχει τουλάχιστον μία αληθής πρόταση που δεν μπορεί να αποδειχθεί. (Kurt Goedel) :ugeek:
Theodore Σημαντική βοήθεια στο MQN.gr
 
Δημοσιεύσεις: 267
Εγγραφή: Παρ, 07 Νοέμ 2008 9:27 pm
Τοποθεσία: Ευρωπαϊκή Ένωση, Ελλάδα
Έτος εισαγωγής: 1999

ΠροηγούμενηΕπόμενο

Επιστροφή στο 4ο Έτος

Μέλη σε σύνδεση

Μέλη σε αυτή την Δ. Συζήτηση: Δεν υπάρχουν εγγεγραμμένα μέλη και 3 επισκέπτες

cron