Σιδηροπαγές Σκυρόδεμα (2011-12)

Συντονιστής: University Editors

Re: Σιδηροπαγές Σκυρόδεμα (2011-12)

Δημοσίευσηαπό iwannito » Δευτ, 27 Φεβ 2012 1:13 pm

η 2η έχει μόνο ερωτήσεις γραμματικής...:P λίγο απίθανο να πέσει αλλά...άμστελ!!
iwannito
 
Δημοσιεύσεις: 22
Εγγραφή: Τετ, 04 Μαρ 2009 12:48 pm
Έτος εισαγωγής: 2008

Re: Σιδηροπαγές Σκυρόδεμα (2011-12)

Δημοσίευσηαπό chris_z » Δευτ, 27 Φεβ 2012 1:41 pm

Διορθώστε με αν κάνω λάθος: pluto --> κεφάλαιο 11b --> παραδείγματα 2 και 4 --> υπολογισμός ροπής αντοχής σχεδιασμού στο τέλος --> μοχλοβραχίωνας του Fc1d=d-0.4x και όχι d-x/2
chris_z
 
Δημοσιεύσεις: 197
Εγγραφή: Τετ, 24 Δεκ 2008 1:56 am
Έτος εισαγωγής: 0

Re: Σιδηροπαγές Σκυρόδεμα (2011-12)

Δημοσίευσηαπό kavourdista-amugdala » Δευτ, 27 Φεβ 2012 3:22 pm

Ναι έτσι είναι το σωστό (νομίζω). Περιέργως βέβαια το κάνει 2 φορές...
Ήμουν αντάμης, δε θα πεθάνω κιότης κι αναδρομάρης χορτασμένος και προδότης
kavourdista-amugdala
 
Δημοσιεύσεις: 213
Εγγραφή: Δευτ, 09 Μαρ 2009 5:24 pm
Έτος εισαγωγής: 2008

Re: Σιδηροπαγές Σκυρόδεμα (2011-12)

Δημοσίευσηαπό teo » Δευτ, 27 Φεβ 2012 6:17 pm

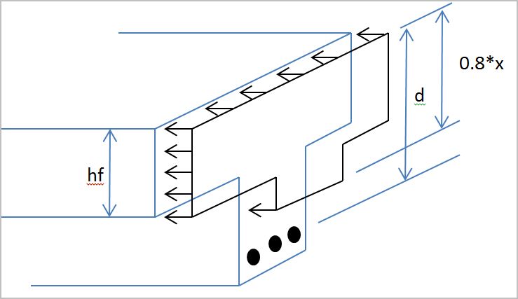
οντως. και δεν ειναι μονο τοθ Fc1d=d-0.4x αλλα με την ιδια λογικη και του Fc2d=d-0.4*παχος πλακας. Σωστα?
teo
 
Δημοσιεύσεις: 405
Εγγραφή: Τρί, 17 Φεβ 2009 1:41 pm
Έτος εισαγωγής: 2008

Re: Σιδηροπαγές Σκυρόδεμα (2011-12)

Δημοσίευσηαπό teo » Δευτ, 27 Φεβ 2012 6:42 pm

ακυρο λαθος ειπα για το Fc2d ειναι d-hf/2. επιβεβαιομενο και απο εγκυρη πηγη
teo
 
Δημοσιεύσεις: 405
Εγγραφή: Τρί, 17 Φεβ 2009 1:41 pm
Έτος εισαγωγής: 2008

Re: Σιδηροπαγές Σκυρόδεμα (2011-12)

Δημοσίευσηαπό lybe33 » Δευτ, 27 Φεβ 2012 7:06 pm

teo έγραψε:για το Fc2d ειναι d-hf/2
:thumbup:
plakodokos.JPG
Άβαταρ μέλους
lybe33
Επίτιμο μέλος
 
Δημοσιεύσεις: 2638
Εγγραφή: Τετ, 03 Δεκ 2008 11:55 am
Έτος εισαγωγής: 2008

Re: Σιδηροπαγές Σκυρόδεμα (2011-12)

Δημοσίευσηαπό nikolst » Δευτ, 27 Φεβ 2012 10:56 pm

ξερει καποιος μεχρι πιο γραμμα ειναι το ππρωτο τμημα? επισης τον κωδικο για τα αρχεια του γιαννοπουλου. ευχαριστω!!!
nikolst
 
Δημοσιεύσεις: 2
Εγγραφή: Δευτ, 29 Σεπ 2008 6:58 pm

Re: Σιδηροπαγές Σκυρόδεμα (2011-12)

Δημοσίευσηαπό poum » Δευτ, 27 Φεβ 2012 11:12 pm

νομιζω Λ και 108
bismallah
poum
 
Δημοσιεύσεις: 626
Εγγραφή: Δευτ, 04 Αύγ 2008 11:18 am
Έτος εισαγωγής: 2007

Re: Σιδηροπαγές Σκυρόδεμα (2011-12)

Δημοσίευσηαπό manolito » Τρί, 28 Φεβ 2012 7:55 am

Ρε παιδιά, έχω φάει τον κόσμο για να ξεκαθαρίσω κάποια πράγματα, αλλά δεν τα πολυ-κατάφερα....

ΕΡΩΤΗΣΕΙΣ:

1) Τελικά τα ανηγμένα μεγέθη στον ευρωκώδικα τα υπολογίζουμε με fck που λέει ο Τρέζος, ή με fcd που λέει ο Γιαννόπουλος (και ο ευρωκώδικας νομίζω fcd λεει). Άν είναι fcd το σωστό, γιατί λεει fck ο Τρέζος και το τονίζει στις σημειώσεις του 4ου μαθήματος σελίδα 2 υποσημειωση 6;

2) Όταν πάμε να υπολογίσουμε με πίνακες (από ανηγμένα μεγέθη) οπλισμούς, είτε για απλό οπλισμό σε πλάκα, είτε για μονό ή διπλό σε δοκό, είτε σε υποστήλωμα, τότε ο τύπος του "μsd" αλλάζει πουθενά ή είναι ο ίδιος; Και το fck αλλάζει πουθενά σε fcd ή το ανάποδο σε αυτό τον τύπο ή στους άλλους τύπους του ω;
Άβαταρ μέλους
manolito Σημαντική βοήθεια στο MQN.gr
 
Δημοσιεύσεις: 57
Εγγραφή: Παρ, 06 Φεβ 2009 10:48 pm
Έτος εισαγωγής: 2006

Re: Σιδηροπαγές Σκυρόδεμα (2011-12)

Δημοσίευσηαπό lnFam0uS » Τρί, 28 Φεβ 2012 9:35 am

Εχω την εντυπωση (βασικα ειμαι 99% σιγουρος) οτι απλα στον ΕΚΩΣ τα ανηγμενα μεγεθη ηταν δια fcd=fck/1,5 και στον ΕΚ το αλλαξανε σε fck. Διαφορα ουσιαστικη δεν υπαρχει αφου και το ω μετα το βρισκεις πολλαπλασιαζοντας με το fcd για εκως και με το fck με τον ΕΚ. Για τα υποστυλωματα παλι δεν υπαρχει διαφορα γιατι το ωtot βγαινει παλι με την αναλογη τιμη αντοχης (σχεδιασμου η χαρακτηριστικη) οποτε οπως και να το λυσεις λογικα βγαινουν τα ιδια μεγεθη Med/Mrd και Ned/Nrd. Αν μπορει ας το επαληθευσει και καποιος αλλος , αλλα πλεον στον ΕΚ δουλευουμε με fck.
lnFam0uS
 
Δημοσιεύσεις: 68
Εγγραφή: Τρί, 01 Ιουν 2010 1:06 am
Έτος εισαγωγής: 2003

ΠροηγούμενηΕπόμενο

Επιστροφή στο 4ο Έτος

Μέλη σε σύνδεση

Μέλη σε αυτή την Δ. Συζήτηση: Δεν υπάρχουν εγγεγραμμένα μέλη και 2 επισκέπτες

cron